鞏義市恒昌冶金建材設備廠
恒昌洗礦機專網專講螺旋選礦機的結構和分選過程
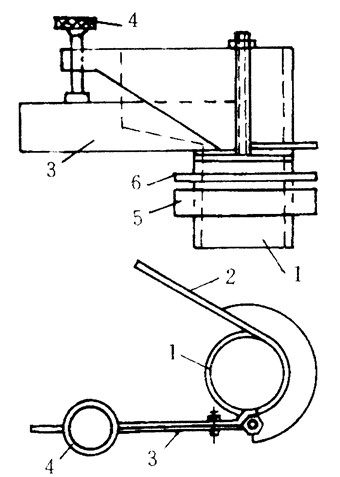
螺旋選礦機的結構如圖1所示。它是把一個溜槽繞垂直軸線彎曲成螺旋狀而做成的,螺旋有3~5圈,固定在垂直的支架上,螺旋槽的斷面為拋物線或橢圓的一部分,槽底在縱向(沿礦流流動方向)和橫向(徑向)均有一定的傾斜度。由第二圈開始,大約在槽底中間部位設有重產物排料管(共4~6個),排料管上部裝有截料器,它能攔截重礦物流使之進入排礦管排出,截料器的兩個刮板壓緊在槽面上,且其中的可動刮板可以旋轉用來調節兩刮板間張口角度大小,從而調節重礦物的排出量,如圖2所示。為提高重產物的質量,在槽內緣設有若干個加水點,稱為洗滌水,它由中央水管經過閥門給入槽內緣。
分選時,礦漿自槽上部勻礦器沿槽寬均勻給入,礦漿在沿槽流動過程中發生分層,重礦物進入底層,并在各種力的綜合作用下向槽的內緣運動;輕礦物則在快速的回轉運動中被甩向外緣。于是,密度不同的礦粒即在槽的橫向展開了分帶,如圖3所示。沿槽內緣流動的重礦物被截料器攔截,通過排料管排出,由上方第一至第二個排料管得到的重產物質量最高,以下重產物質量降低。槽內緣所加洗滌水把重產物夾雜的部分輕礦物沖向外緣,有利于提高精礦的質量。尾礦則由最下部槽的末端排出。

圖1螺旋選礦機
1—給礦槽;2—沖洗水導槽;3—螺旋槽;4—螺旋槽連接法蘭;
5—尾礦排出溜槽;6—機架;7—重礦物排出管口

圖2截料器
1—排料管;2—固定刮板;3—可動刮板;4—壓緊螺釘;5—螺母;6—墊圈

圖3礦粒在螺旋槽內的分帶
(黑色顆粒表示重礦物,白色為輕礦物)
鞏義市恒昌冶金建材設備廠專業生產洗礦機廠家,生產的洗礦機、螺旋洗礦機、滾筒洗礦機、給料機、跳汰機、振動篩等設備遠銷海內外受廣大用戶的喜愛。咨詢電話:0371-64354182,0371-64310550.
hotline
全國咨詢熱線:13903857349
ADDRESS
地址:鞏義市廣陵路6號
PHONE
電話:0371-64354182
E-Mail:
郵箱:1360857785@qq.com
掃一下,立即咨詢
掃一下,關注我們
版權所有:鞏義市恒昌冶金建材設備廠